10 mai 1997

Journal officiel du Lémania Coccinelle Club

Paraît 5 fois l'an / Tirage 230


 Retour à la page d'accueil du site du Lémania Coccinelle Club

Prochaine parution : juin 1997


Sommaire


Editorial
Château-d'Oex 97
Recherche de bénévoles
Sortie "karting" du 1er juin
Rallye du club du 15 juin
Visite des salines de Bex
Voyage en Hollande
Expérience personnelle
Solution de l'énigme précédente
Enigme du mois
Action "rapporte-clefs"
Nouveaux membres
Carnet rose
Calendrier 1997

 


Editorial

L’union faisant la force, l’un des rôles essentiels d’un club tel que le nôtre est l’échange des expériences personnelles. Echanges permettant dans une large mesure d’éviter, après avoir effectué sur sa voiture des travaux de quelque nature que ce soit (restauration complète, traitement antirouille, ajout d’un accessoire, transformation moteur, etc.), des réflexions du style “ah!, si j’avais su cela avant, je m’y serais pris différemment”! Chaque expérience personnelle, bonne ou mauvaise, doit pouvoir profiter aux autres. En général, ces échanges d’expériences ont lieu lors des sorties du club ou pendant les concentrations de Volkswagen.

Cependant, notre journal de club peut également faciliter ou étendre ces échanges d’expériences. Ainsi, avec “Flancs blancs, attention danger” nous inaugurons aujourd’hui une nouvelle rubrique qui permettra à chaque membre de partager ses expériences bonnes ou mauvaises avec l’ensemble du club. Pour que cette nouvelle rubrique ne soit pas mort-née, une participation ACTIVE de tous les membres est néanmoins indispensable. Alors si vous avez réalisé une expérience qui pourrait profiter à d’autres membres du club, n’hésitez pas à nous adresser un petit billet à ce sujet. D’avance un grand merci pour votre précieuse participation.

En parlant de participation, j’ai l’impression que malgré le fait que le printemps -synonyme d’ouverture de la saison “Cox”- ait pointé le petit bout de son nez depuis près de 2 mois, une grande partie des membres du club sommeille encore dans une douce léthargie! Alors membres du Lémania Coccinelle Club, réveillez-vous! S’il est normal que l’on ne puisse pas participer à toutes les activités proposées par le club (on a également d’autres “chats à fouetter”), il est, par contre, moins compréhensible que l’on ne donne jamais signe de vie alors que les occasions ne manquent pas (petits concours proposés dans l’écho, boutique, sorties, meetings, meeting de Château-d’Oex, souper fondue, assemblée générale, et j’en passe). Alors, pour tous les “étourdis” voici les dates de nos prochaines sorties dont vous trouverez ci-joints les bulletins d’inscription :

1er juin : sortie “karting” avec en prime la visite de l’espace Sbarro
15 juin : rallye du club
18 - 25 juin : voyage en Hollande avec participation à un des plus grands meetings VW d’Europe à Budel (juste avant Eindhoven).

A bientôt et ... bonne lecture! Olivier

Retour au sommaire


Château-d'Oex 97

La 7ème édition de notre meeting international VW à Château-d’Oex qui se déroulera, rappelons-le, du vendredi 29 au dimanche 31 août, sera placée, cette année, sous le thème “Clubs sans frontière”. A cet effet, 3 clubs étrangers (Hollande - France et Belgique) ont été invités à présenter leur club et leur région. Il disposeront pour cela d’un stand couvert de 4X4 m . D’autre part, pour favoriser l’échange entre les clubs en général et les participants au meeting en particulier, un apéro leur sera offert par l’office du tourisme de Rougemont. Une mini balade sera ainsi organisée le samedi après-midi aux environs de 16h45 pour se rendre, en caravane, à Rougemont où les voitures seront parquées en épi dans le village. Une initiative qui risque de plaire à beaucoup de monde et spécialement à tous ceux qui avaient regretté l’absence d’arrêt lors de notre grande balade du dimanche matin.

En ce qui concerne cette dernière, le nouveau parcours inauguré l’an dernier sera reconduit cette année. Ce parcours a le double avantage d’être d’une part pas trop long (22 km environ) et d’autre part de permettre aux participants de voir des Coccinelles “s’enfoncer” dans la montagne sur plusieurs kilomètres! Une modification sera toutefois apportée en ce sens qu’au lieu d’éviter le village de Rougemont en utilisant le rond point situé à l’entrée du village, nous traverserons celui-ci de part en part. Cette modification, apportée sur la demande de l’office du tourisme de Rougemont, devrait ravir tous les participants à la balade du dimanche matin qui reste une de nos plus grandes attractions.

L’année dernière, les participants au meeting ont pu admirer des gymnastes sautant par-dessus une Coccinelle. Cette année, ils auront l’occasion d’assister à une démonstration de trial qui sera, elle aussi, fort spectaculaire. Ce d’autant plus que les 3 motards invités à se produire ont pour habitude de faire participer le public!

Autre nouveauté, la soirée du samedi soir sera animée non pas par une disco, mais par le Back Street Blues, un orchestre de 5 personnes. Il y aura également plusieurs démonstrations de karaté et d’aérobic. Quant à la soirée du vendredi soir, l’animation a été confiée à Patrick Tschaller, un ami du club qui n’a pas son pareil pour mettre de l’ambiance.

Naturellement, le musée VW de Wolfsburg sera à nouveau présent avec un ou deux véhicules. Le choix n’étant pas encore arrêté, vous en aurez la primeur dans un prochain écho.

Au niveau du sponsoring, après un effort de longue haleine, notre responsable M. Jean-Luc Peter a réussi à atteindre le but qu’il s’était fixé, malgré une conjoncture plus que morose. Amag Import AG, Esso, Michelin, Amstel et Zweifel seront les sponsors officiels de cette 7ème édition de notre meeting international VW à Château-d’Oex. Par contre, en ce qui concerne les annonces publicitaires pour notre livret de fête, nous sommes encore loin du compte. Nous ne pouvons donc que vous encourager à ...utiliser le contrat pour une annonce publicitaire que vous avez reçu avec le dernier écho et à nous le renvoyer avant le 15 juin prochain!

Pour le reste, tous les ingrédients qui ont assuré la renommée de notre meeting seront reconduits, soit un cadre extaordinaire - une organisation sérieuse - un rapport qualité-prix au dessus de la moyenne - un T-shirt magnifique - une ambiance chaleureuse - et enfin un personnel dévoué, disponible et souriant!
Olivier

Retour au sommaire


Recherche de bénévoles

Comme les années précédentes, nous aurons besoin d’un nombre important de bénévoles. Vous allez recevoir très prochainement un bulletin d’inscription. Nous espérons que vous serez à nouveau très nombreux à venir nous apporter votre aide. Tout sera mis en oeuvre pour assurer un maximum de confort aux personnes bénévoles. Outre le traditionnel T-shirt et les bons de “ravitaillement”, chaque bénévole aura, comme l’année dernière, la possibilité de dormir sur place gratuitement (abris PC des Moulins). D’autre part, si vous avez des amis ou connaissances susceptibles d’être intéressés à venir nous apporter leur aide, n’hésitez pas à les inscrire.

Pour plus de renseignements, vous pouvez sans autre téléphoner à M. Gérard Odier, responsable du personnel (tél. 021/943.17.38) ou à M. Olivier Guignard, président du club (tél. 021/943.44.38). D’avance un grand merci à toutes celles et à tous ceux qui nous apporteront leur aide et qui ... s’inscriront dans les délais!

Retour au sommaire


Sortie karting du 1er juin

Comme annoncé, la sortie «karting» aura lieu le dimanche 1er juin prochain. Voici le programme de cette journée tant attendue :

Programme de la journée
09h00 : 1er rendez-vous au restoroute de Villette, juste après Chexbres
09h45 : 2ème rendez-vous à la douane de Vallorbe
10h00 : départ en caravane en direction de Pontarlier
11h00 : Visite de l’espace Sbarro à Pontarlier (prix d’entrée : 25 francs fançais)
12h00 : départ en direction du circuit de karting à Levier
12h45 : pique-nique sur les abords du circuit. En cas de beau temps, un grill sera à disposition
15h30 : début du karting
17h00 : retour

Renseignement généraux
- la piste de karting nous sera réservée pendant 1 heure
- le nombre de kart mis à notre disposition dépendra du nombre de personnes inscrites
- chaque personne inscrite mentionnera sur le bulletin d’inscription de la page 17 la durée totale pour laquelle il aimerait disposer d’un kart (par tranche de 10 minutes, soit 10, 20, 30, 40, 50 ou 60 minutes)
- le prix de location d’un kart est de 450 francs français pour 1 heure. Naturellement, chacun paiera en fonction de son utilisation
- Une petite partie du prix de location sera prise en charge par le club.

 

 

Retour au sommaire


Rallye du club du 15 juin

 

Retour au sommaire


Visite des salines de Bex

Le temps maussade du dimanche 27 avril dernier s’est très bien prêté ... pour une visite souterraine! A l’heure du rendez-vous (8h45), manquent à l’appel quelques participants. Enfin, à 9 heures et quelques minutes, les derniers retardataires arrivent. L’heure c’est l’heure, il faut donc se presser pour ne pas manquer le départ. A part Steve Mury dont sa voiture a malheureusement connu des ennuis de moteur sur l’autoroute, toutes les personnes inscrites sont présentes (41 personnes dont 6 enfants).

Après avoir emprunté à pied un petit chemin, nous nous trouvons devant l’entrée des mines dans la montagne. Après quelques kilomètres de marche qui n’ont pas posé de problème aux petits, nous arrivons dans ce qu’ils appellent le réservoir rond avec son exposition et sa présentation audio-visuelle. Une présentation qui nous montre les éléments les plus spectaculaires et les plus caractéristiques des diverses techniques d’exploitation depuis la première galerie creusée en 1684 jusqu’à aujourd’hui. Puis, après un trajet en train d’une dizaine de minutes environ, nous “attaquons” une série de 72 marches taillées dans la roche. Ouf, la dernière marche est atteinte et nous passons un tunnel où la guide nous recommande de ... baisser la tête pour arriver dans une immense taverne. Emotion, quel travail ils ont accompli. La température de 18° est très agréable. Puis nous visitons les anciennes installations où nous pouvons admirer les outils, les habits, les machines, un impressionnant soufflet ainsi qu’un puits de 214,4 mètres de profondeur. Quelle merveille! La visite continue jusqu’à 11h.

Le sel commençant à nous donner soif, la guide nous amène par un escalier à la salle des fêtes où un apéritif bien mérité nous est servi. A 12 h., départ pour ressortir de la mine. 12h30, la faim nous tiraille; trop tard pour aller jusqu’à Yvoire. Aussi, nous nous décidons pour une halte à Evian, les pique-niqueurs continuant, quant à eux, jusqu’à Yvoire. Les fins becs ont vite repéré une adresse chez Danic où un repas bien arrosé nous est servi! Il est déjà 16h30 quand nous décidons de poursuivre jusqu’à Yvoire. Malheureusement, la visite de ce village médiéval est interrompue par la pluie. Nous décidons donc de rentrer par l’autoroute où nous roulons ensemble pour accompagner un vieux gramophone au moins jusqu’à la douane ainsi que notre ami Samy qui a des problèmes ... d’essuie-glace! Merci au club pour la verrée! Nânâ


Tout un univers souterrain entièrement creusé par l'homme !

Retour au sommaire


Voyage en Hollande

Depuis plusieurs années, le Kever Club Nederland participent à notre meeting international de Château-d’Oex, ce qui nous a donné l’occasion de nouer certains liens d’amitié. Ce grand club hollandais, qui compte pas moins de ... 6’000 membres, organise également une grande concentration internationale de Volkswagen à Budel, ville située à une centaine de kilomètres avant Eindhoven. Cette année, ce grand meeting européen (plus de 2’000 voitures sont attendues) se déroulera du 21 au 22 juin prochain.

Afin de leur rendre la monnaie de leur pièce, quelques membres du club ont décidé d’aller représenter officiellement le Lémania Coccinelle Club à ce meeting. Désirant joindre l’utile à l’agréable, ils en profiteront pour passer quelques jours de vacances dans le pays des tulipes. Ainsi, la petite délégation partira le mercredi 18 juin pour revenir une semaine plus tard le 25 juin. Naturellement, les membres qui souhaiteraient participer à ce séjour en Hollande sont les bienvenus. Vous trouverez un bulletin d’inscription à l’intérieur de cet écho. Toutes les personnes inscrites recevront directement tous les renseignements concernant l’organisation de ce voyage.

Pour de plus amples informations, vous pouvez également appeler M. Samy Isoz au 026/924.79.63.

Retour au sommaire


Expérience personnelle

Flancs blancs, attention danger !

Très en vogue dans les années 50 - 60, les pneus à flancs blancs ont pratiquement disparu du marché en même temps que les pneumatiques diagonaux traditionnels, supplantés par la nouvelle technique radiale. Confort accru, tenue de route améliorée dans une large mesure, longévité nettement plus grande, tels étaient les avantages du nouveau pneu radial.
Pour remédier à la disparition des pneus à flancs blancs, plusieurs entreprises d’accessoires automobiles ont mis sur le marché des garnitures “flanc blanc” que l’on met en place en les pinçant entre la jante et le pneu. VW en proposait d’ailleurs dans son catalogue d’accessoires il y a quelques années en arrière.

Les flancs blancs apportant indéniablement un plus au “look” de la voiture, je n’ai pas hésité, en 1981, lors du changement des 4 pneus de mon cabriolet 65, à monter 4 flancs blancs. Expérience très concluante puisque 16 ans plus tard et 65’000 km plus loin, les mêmes pneus radiaux (des Michelin X) dotés de leurs flancs blancs sont toujours montés sur mon cabriolet. Certes, les garnitures blanches se sont légèrement effritées et ont quelque peu jauni, mais l’aspect est toujours agréable. Fort de cette bonne expérience, je n’ai pas hésité, il y a de cela 2 ans, à également équiper ma berline 65 de 4 flancs blancs.

Là, les choses se sont nettement moins bien passées puisqu’à peine une année après, les flancs blancs avaient usé jusqu’à la toile le bord latéral des pneus! Pensant qu’il s’agissait avant tout d’un problème inhérent à la qualité des flancs blancs, j’ai recommandé un nouveau jeu de flancs blancs, mais cette fois-ci de la même marque que ceux équipant mon cabriolet, ainsi que ... 4 nouveaux pneus! Peine perdue, car le même phénomène d’usure s’est reproduit à nouveau après seulement 12’000 km d’utilisation! Bizarre autant qu’étrange.

Cependant, le responsable de Michelin Suisse S.A. (qui sera, soit dit en passant, un des sponsors officiels de notre prochain meeting à Château-d’Oex) m’a expliqué que pour éviter le jaunissement des garnitures blanches, les fabricants de flancs blancs avaient changé la composition chimique de leur gomme. Celle-ci est devenue beaucoup plus dure qu’auparavant, provoquant ainsi en vibrant, une usure anormale du flanc du pneumatique. D’ailleurs, suite entre autre à ce problème, Mercédès a interdit à ses concessionnaires de monter de tels flancs blancs.

Michelin ayant à son programme toute une gamme de pneus pour véhicules d’époque et ne voulant pas renoncer aux flancs blancs, je me suis décidé dernièrement à faire le grand saut et à équiper ma voiture de véritables pneus à flanc blanc. Certes, le prix d’achat d’un tel pneu est sensiblement plus cher qu’un pneu normal (il faut compter environ 250 francs par pneu), mais à la longue, l’investissement risque d’être payant. Et ce que je vais perdre en tenue de route, je vais le gagner en sécurité car je ne risquerai plus de voir un de mes pneus éclater suite à une usure anormale provoquée par le flanc blanc!
Olivier

PS Merci à tous les membres qui ont également monté des flancs blancs sur leur voiture d’apporter un peu d’eau au moulin en me communiquant leurs expériences.

D’autre part, le club tient à disposition de ses membres le catalogue des pneus Michelin pour véhicule d’époque. Prendre contact avec Olivier Guignard, tél. 021/943.44.38.

Retour au sommaire


Solution de l'énigme précédente

La première énigme proposée dans l’écho n° 41 était-elle trop difficile? Inintéressante? Les membres du Lémania ne sont-ils pas joueurs? Allez savoir! Toujours est-il que nous n’avons reçu, à ce jour, ... aucune réponse à l’énigme proposée!

A la question “en quelle année, cette campagne publicitaire a-t-elle été lancée”, il fallait répondre 1964.
On pouvait le trouver en examinant le dessin de la Coccinelle : celle-ci comporte en effet sur les ailes avant des clignotants larges apparus pour la première fois sur le modèle 64 ainsi que des balais d’essuie-glace en position d’arrêt du côté du passager dont c’était la dernière année. Dès 1965 en effet, les balais d’essuie-glace se trouvent, en position d’arrêt, du côté conducteur.

Ne manquez pas de participer à l'énigme de ce mois !

 

Retour au sommaire


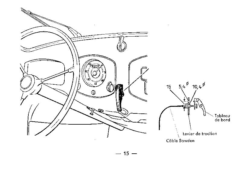
Enigme du mois

Depuis que l’automobile existe, de nombreuses entreprises ont fait preuve d’une imagination débordante pour proposer aux automobilistes toute une panoplie d’accessoires destinés à embellir, améliorer ou personnaliser les voitures de série.

Ainsi en est-il de Bosch qui, outre des produits standards, a de tout temps commercialisé des accessoires spécialement adaptés à certaines marques ou modèles. Volkswagen n’a, évidemment, pas été oublié. Dans son catalogue d’accessoires spécialement destinés à la Coccinelle du début des années cinquante, outre les traditionnels postes de radio, phares antibrouillard et longue portée, phares de recul, etc, on trouve quelques accessoires surprenants. Ainsi en est-il du levier de traction installé sur le tableau de bord d’une split!



A quoi pouvait donc bien servir ce levier?

Pour vous faciliter la tâche, la bonne réponse se trouve parmi les 3 propositions suivantes :
1) gaz à main
2) levier commandant un lave-glace pneumatique
3) levier commandant l’ouverture du capot avant

Réponse à envoyer à l’adresse du club (LCC, case postale, 1800 Vevey 1)

Retour au sommaire


Action "rapporte-clefs"

Notre action “rapporte-clefs” n’a pas rencontré un grand succès puisqu’à l’heure actuelle nous n’avons reçu qu’une quinzaine de commandes. Un nombre nettement insuffisant pour nous permettre de concrétiser ce projet. Cependant, avant de l’enterrer définitivement, nous allons tenter un dernier essai en prolongeant le délai de commande jusqu’au 31 mai prochain. Passé ce délai, nous prendrons la décision de poursuivre ou d’arrêter définitivement ce projet en fonction des commandes reçues.

Alors, si vous désirez quand même acquérir ce “rapporte-clefs”, ne tardez pas à nous envoyer votre commande. Si vous n’avez plus le bulletin de commande, vous pouvez sans autre utiliser une carte postale ou un simple feuillet en mentionnant votre nom et adresse ainsi que le nombre de “rapporte-clefs” désirés.

Retour au sommaire


Nouveaux membres

Bienvenue à :

M. Marc Wahli, Champ-Fahi, 1836 Rossinière, tél. 026/924.77.85

Retour au sommaire


Carnet rose

Une Coccinelle fançaise a
rencontré une Coccinelle
Suisse...

De cette rencontre est né un
amour de Coccinelle

Morganne Liotard et Marcel
Hurni vont concrétiser cet
amour le Samedi 26 juillet à
14 heures en l’église romane
de Saint-Sulpice (Suisse)

D’ores et déjà le Lémania Coccinelle Club adresse à Morganne et Marcel ses meilleurs voeux de bonheur. Si vous n’êtes pas en vacances le 26 juillet prochain, ne manquez pas d’aller leur dire un petit bonjour!

 

Retour au sommaire


Calendrier du club 1997

31 janvier Assemblée générale 1997 au restaurant de la Tour Rouge à Villeneuve
23 février Tournoi de badminton au CESSEV
27 avril Visite des salines de Bex
3 - 4 mai Meeting d'Annecy
8 - 11 mai 10e Super VW National à Lége-Cap-Ferret
1er juin Sortie "karting" + visite de l'espace Sbarro à Pontarlier
15 juin Rallye du club
20 - 22 juin Meeting à Budel en Hollande
20 juillet Sortie du club à Yverdon
23 - 24 août Alsacox
17 août Décoration de la halle Landi
29 - 31 août 7e meeting int. VW à Château-d'Oex
21 novembre Souper de fin d'année au restaurant des Colombettes à Vuadens

Retour au sommaire